Vrátit zpět na článek:
Ford si patentoval zajímavý prodlužovač dojezdu pro elektromobily. Baterii dá i na střechu
❮
❯
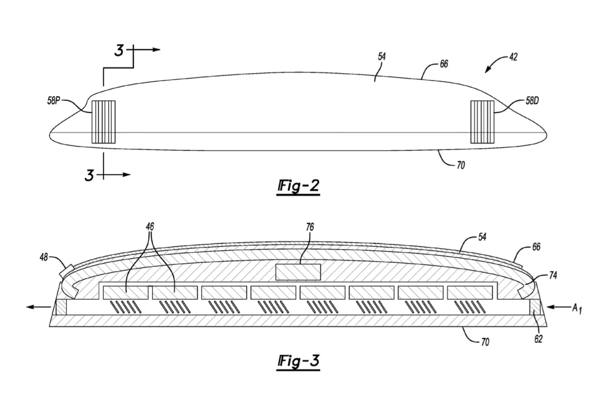
Ford si patentoval zajímavý prodlužovač dojezdu pro elektromobily. Baterii dá i na střechu | Zdroj: United States Patent and Trademark Office
Foto 2 / 2
Platíte za autopojištění zbytečně moc?
Najděte nejlevnější nabídku během 2 minut a ušetřete až 4 500 Kč.
🔍 Porovnat ceny zdarmaNezávazné srovnání • Okamžitý výsledek

